此页面上的内容需要较新版本的 Adobe Flash Player。

获取 Adobe Flash Player


  
 
 
 
 
 
 
 
 
 
 

 

 

 

 

 

 

 

 

 

 

 

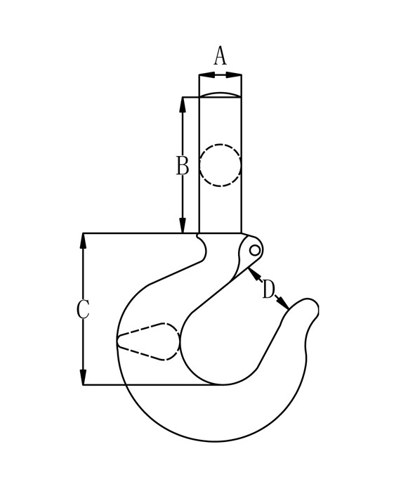
SHANK HOOK
Stock No. Working Load Dimensions (in) Weight Weight
(tons) (lbs)
Carbon Alloy A B C D (lbs) w/latch
SHANKHKC034/A010 3/4 1 0.59 2.00 2.28 0.94 0.50 0.52
SHANKHKC001/A112 1 1 1/2 0.66 2.25 2.53 1.03 0.75 0.77
SHANKHKC112/A002 1 1/2 2 0.72 2.50 2.69 1.06 1.00 1.03
SHANKHKC002/A003 2 3 0.88 2.75 3.06 1.22 1.85 1.88
SHANKHKC003/A412 3 5 1.16 3.25 3.78 1.50 3.85 3.91
SHANKHKC005/A007 5 7 1.41 3.75 4.75 1.88 7.25 7.36
SHANKHKC712/A011 7 1/2 11 1.69 4.25 5.88 2.25 13.00 13.15
SHANKHKC010/A015 10 15 1.75 4.50 6.41 2.52 19.40 19.55
*Ultimate load is 5 times working load limit
   
 
 

 

© 2010 DragonCastings and Forgings. All rights reserved.

Home About us Contact us